SOCIEDAD
Lo siento por ti si quieres actualizar tu PC Gaming. La IA se cobra su primera víctima y dejará de vender componentes a los jugadores

Durante casi treinta años, Crucial ha sido una de las marcas de RAM más reconocidas y vendidas en todo el mundo, incluido en España. Muchos la consideraban una marca de confianza a la que acudían a comprar memorias RAM fiables y SSDs duraderos a unos precios ajustados, lo que nos permitía destinar más presupuesto a la tarjeta gráfica o a la CPU. Sin embargo, la industria del hardware está virando hacia el dinero fácil, dejando tirados a millones de jugadores que quieren actualizar los componentes de su PC.

Micron detendrá la venta de productos ‘Crucial’ para los jugadores
Adiós a la RAM y SSD ‘Crucial’
Las nuevas tecnologías y, en concreto la IA, acaban de asestar un duro golpe que va a doler, y mucho, en la cartera de muchos de nosotros. Según informa el medio Reuters, Micron Technology ha anunciado oficialmente que abandona el negocio de memorias de consumo, es decir, no veremos la marca Crucial en tiendas de hardware españolas ni en todo el mundo. La compañía dejará de fabricar y vender memorias RAM y discos SSD para usuarios de a pie como tú y como yo.
El objetivo es volcar todos sus recursos en el sector empresarial, concretamente en se centrarán en el área de servidores para satisfacer la altísima demanda de inteligencia artificial. Eso sí, han confirmado que los envíos a tiendas se mantendrán hasta febrero de 2026, pero a partir de esa fecha Crucial morirá para nosotros, los jugadores. El motivo de esta decisión ha sido por la demanda de alto rendimiento para centros de datos y servidores, lo que ha disparado el precio de la RAM en todo el mundo.

Ve pensando en mejorar la RAM del PC porque los datos de Steam son claros: los 16 GB cada vez se ven menos
Por eso mismo, Micron prefiere dedicar toda su capacidad de fabricación a ese sector, donde los márgenes de beneficio son mucho más altos que en el mercado de consumo. Es hora de asumirlo, los jugadores hemos pasado a ser ciudadanos de segunda para Micron, y no sería extraño que más fabricantes le sigan los pasos. La consecuencia inmediata para nosotros es preocupante. Dado que Crucial está fuera del tablero, el mercado de memoria de consumo queda dominado principalmente por Samsung y SK Hynix.
Esto reduce de notablemente la competencia, que hasta hace unas semanas mantenía unos precios más o menos ajustados. Los expertos advierten que actualizar nuestros equipos podría encarecerse a corto plazo, ya que la demanda de memoria para inteligencia artificial y centros de datos está absorbiendo gran parte de la producción. Si encuentras RAM barata durante estos días y la necesitas, aprovecha esa oferta porque todo apunta a que el coste seguirá subiendo.
Foto de portada Tai Bui en Unsplash
En 3DJuegos | Vuelve una de las aventuras gráficas más famosas de los últimos 20 años, pero su remaster deja claro que las prisas nunca son buenas
En 3DJuegos | Esta es la mejor herramienta para ayudarte a montar un PC por piezas y encontrar las más baratas vivas donde vivas
(function() {
window._JS_MODULES = window._JS_MODULES || {};
var headElement = document.getElementsByTagName(‘head’)[0];
if (_JS_MODULES.instagram) {
var instagramScript = document.createElement(‘script’);
instagramScript.src=»
instagramScript.async = true;
instagramScript.defer = true;
headElement.appendChild(instagramScript);
}
})();
–
La noticia
Lo siento por ti si quieres actualizar tu PC Gaming. La IA se cobra su primera víctima y dejará de vender componentes a los jugadores
fue publicada originalmente en
3DJuegos
por
Adrián Mira
.
SOCIEDAD
Trump anunció que Venezuela entregará entre 30 y 50 millones de barriles de petróleo a Estados Unidos

En medio de las negociaciones entre Donald Trump y Delcy Rodríguez en la transición tras la captura de Nicolás Maduro, el presidente norteamericano anunció que Venezuela entregará entre 30 y 50 millones de barriles de petróleo a Estados Unidos. Además sostuvo que será transportado a través de buques de almacenamiento -en una acción comandada por el secretario de Energía, Chris Wright- y que el mandatario “controlará” el dinero para que se utilice en beneficio del pueblo venezolano.
“Me complace anunciar que las autoridades provisionales de Venezuela entregarán entre 30 y 50 millones de barriles de petróleo de alta calidad y autorizado a los Estados Unidos. Este petróleo se venderá a su precio de mercado y yo, como presidente, controlaré ese dinero para garantizar que se utilice en beneficio del pueblo venezolano y de Estados Unidos”, expresó el presidente republicano en su cuenta de la plataforma The Truth Social.
Luego aclaró: “He solicitado al secretario de Energía, Chris Wright, que ejecute este plan de inmediato. Se transportará en buques de almacenamiento directamente a los muelles de descarga en Estados Unidos”.
La medida fue anunciada por Marco Rubio, secretario de Estado de Estados Unidos, quien aseguró que su país utilizará el régimen de sanciones vigente, en particular sobre el sector petrolero venezolano y las bandas criminales, como principal herramienta de presión para influir sobre los eventuales sucesores de Maduro.
Ante la incertidumbre sobre su futuro, los precios del petróleo cayeron este martes al término de una jornada volátil, mientras los operadores se cuestionaban la posibilidad de explotar las inmensas reservas de crudo de Venezuela tras la captura de Maduro. El precio del barril de Brent del mar del Norte, para entrega en marzo, perdió un 1,72% hasta 60,70 dólares y su equivalente estadounidense, el barril de West Texas Intermediate (WTI), para entrega en febrero, bajó un 2,04% hasta 57,13 dólares.
Este mismo martes, la Casa Blanca convocó a los ejecutivos de las grandes petroleras para discutir sobre Venezuela. La reunión se llevaría adelante a finales de esta semana y son cruciales para las esperanzas de Washington de conseguir que las principales petroleras de Estados Unidos regresen al país después de que el chavismo tomara el control hace dos décadas de las operaciones que lideraban los norteamericanos.
En tanto, Trump había señalado el fin de semana que ya había mantenido reuniones con todas las empresas petroleras estadounidenses incluso desde antes de la captura de Maduro. “Todas nuestras compañías petroleras están listas y dispuestas a hacer grandes inversiones en Venezuela que reconstruirán su infraestructura petrolera, que fue destruida por el régimen ilegítimo de Maduro», remarcó Taylor Rogers, vocera de la Casa Blanca.
La negociación entre Delcy Rodríguez y Trump
Horas después del episodio en el que Maduro fue capturado por Estados Unidos, la vicepresidenta de Venezuela fue declarada presidenta interina, tal como establece la Constitución local, por el lapso de un mes o hasta que haya elecciones. A su vez, Trump declaró que el país norteamericano tomará el mando hasta realizar una transición y eligió a Rodríguez para hacerlo, aunque impuso condiciones. Incluso, rechazó que la ganadora del Premio Nobel de la Paz, María Corina Machado, asuma el cargo vacante.
El mandatario estadounidense le advirtió esta semana que su destino sería peor que el de su predecesor si no “hace lo correcto” y transforma a Venezuela en un país que se alinee con los intereses de Estados Unidos. Trump dijo que su gobierno estará a cargo de “dirigir” la política venezolana y ha presionado para que el país abra sus vastas reservas de petróleo a las empresas estadounidenses.
La elegida por Trump para encabezar la transición aprovechó no sólo para responder a Washington, sino también para sacudirse parte de la presión que llega desde allí: “Hemos crecido en fortaleza y espiritualmente para afrontar los desafíos, las agresiones y las amenazas. Para quienes me amenacen: mi destino no lo decide sino Dios, esa es mi respuesta”.
Lo cierto es que, este martes, Rodríguez cumplió su primer día en el gobierno y decretó siete días de duelo por las personas que murieron durante la operación estadounidense. También nombró a la cabeza de su equipo económico, una posición que ocupó hasta la caída de Nicolás Maduro y que es prioridad de su administración.
Con información de AFP y AP.
SOCIEDAD
¿Imaginas una IA que juegue por ti? Pues esta es una de las ideas de PlayStation para los jugadores que no puedan superar los desafíos más difíciles

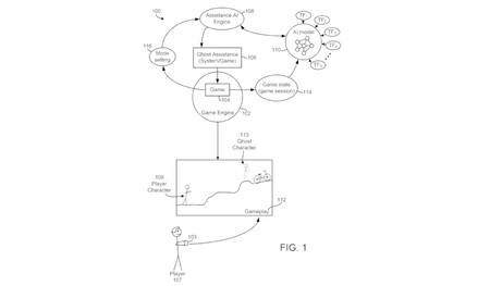
La industria de los videojuegos ha estado valorando la implementación de la Inteligencia Artificial en muchos de los aspectos que componen la producción de videojuegos. De hecho, compañías como Square Enix o Krafton se están volcando para usar dicha tecnología en sus procesos de desarrollo. Sin embargo, parte de los conglomerados del sector también están estudiando la IA para convertirla en una herramienta que ayude a los jugadores en sus sesiones de juego; algo que se demuestra con la última patente de Sony, que consiste en asistir a los usuarios con un avatar ‘fantasma’ capaz de jugar por ellos.

Fuente: World Intellectual Property Organization.
Tal y como informan inicialmente desde Polygon, los padres de PlayStation registraron la solicitud de dicha patente en septiembre de 2024, pero ha sido ahora en 2026 cuando se ha publicado un informe sobre el estado de la iniciativa. De acuerdo con los detalles del documento, que lleva el título de «Jugador fantasma generado con IA«, la idea es crear un sistema que «incluya un vínculo o conexión de la sesión de juego con un motor de Inteligencia Artificial (IA) de asistencia. El motor de IA de asistencia opera para ofrecer asistencia fantasma al jugador según el modo de configuración».
En este sentido, la patente indica que el jugador podría usar el asistente de IA de dos formas diferentes: con un Modo Guía que mostraría la solución de un desafío o rompecabezas presentando al protagonista siendo controlado por la máquina, o un Modo Completo que directamente controlaría al personaje para superar un reto. En otras palabras, la IA jugaría por el usuario para evitar que éste se atasque en una parte del juego; algo que, presumiblemente, sería totalmente opcional para la comunidad.
PlayStation también ha registrado una patente para censurar videojuegos en tiempo real
Curiosamente, PlayStation ya protagonizó una noticia sobre patentes poco antes de comer las uvas. Y es que se descubrió que Sony había registrado una idea que, a grandes rasgos, permitiría modificar los contenidos de un videojuego o película en tiempo real para editar, omitir o silenciar una parte ofensiva; lo que se ha observado rápidamente como una forma de censura gestionada por la IA.
Aun así, vale la pena recordar que las patentes no siempre llegan a buen puerto y PlayStation todavía no ha confirmado ningún plan tangible para hacer que la IA juegue por el usuario u omita secciones de videojuegos. A pesar de ello, no está de más seguir de cerca los movimientos de Sony dentro y fuera de la industria que nos ocupa para conocer sus estrategias en cuanto al disfrute de las experiencias digitales.
En 3DJuegos | Este juego de estrategia y romanos se adelantó casi 10 años a Total War y quizás no lo recuerdes. Os contamos la historia de Centurion: Defender of Rome
En 3DJuegos | Por si Skyrim no era lo suficientemente tosco, estuvo a nada de quedarse sin uno de sus elementos más emblemáticos
(function() {
window._JS_MODULES = window._JS_MODULES || {};
var headElement = document.getElementsByTagName(‘head’)[0];
if (_JS_MODULES.instagram) {
var instagramScript = document.createElement(‘script’);
instagramScript.src=»
instagramScript.async = true;
instagramScript.defer = true;
headElement.appendChild(instagramScript);
}
})();
–
La noticia
¿Imaginas una IA que juegue por ti? Pues esta es una de las ideas de PlayStation para los jugadores que no puedan superar los desafíos más difíciles
fue publicada originalmente en
3DJuegos
por
Brenda Giacconi
.
SOCIEDAD
El comunicado del colegio de una de las jóvenes que murió junto a su familia en un choque en Entre Ríos

El colegio ESRN Nº 1 de General Roca, Río Negro, difundió dos comunicados tras el trágico accidente ocurrido en Entre Ríos, en el murieron cuatro personas de una misma familia.
En el primero de los comunicados, emitido este lunes, la institución convocó a la comunidad a colaborar económicamente para ayudar a la familia a afrontar los costos de traslado y los gastos derivados del siniestro.
Leé también: La trágica historia de la familia que viajaba de vacaciones a Misiones y murió en una ruta de Entre Ríos
Allí confirmaron que dos alumnas del establecimiento habían fallecido.
“Hoy nos toca despedir con inmenso dolor a Omaira, a su hermana y a su madre, mientras acompañamos con todas nuestras fuerzas la lucha de Astrid por su vida”, señalaron desde la escuela, en un mensaje que rápidamente se viralizó.
Horas después, la ESRN Nº 1 difundió un segundo comunicado con una noticia que llevó algo de alivio en medio de la conmoción: el objetivo económico fue alcanzado. Según informaron, gracias a las donaciones recibidas, se lograron cubrir los costos necesarios.
Desde la institución agradecieron “la inmensa solidaridad” de quienes aportaron y compartieron el pedido, destacaron el rol del Sindicato de Camioneros de General Roca por coordinar el traslado, y también a las autoridades que facilitaron las gestiones.
Sin embargo, el mensaje dejó en claro que la situación sigue siendo crítica. “Si bien la ayuda económica ya no es necesaria, nuestra estudiante Astrid sigue peleando por su vida”, remarcaron, y pidieron continuar con la cadena de oración y acompañamiento. “Su fortaleza es la nuestra”, expresaron.
La Justicia investiga cómo ocurrió el accidente en Entre Ríos
El dramático accidente en el que murió una familia ocurrió la madrugada del domingo en el empalme con la avenida 25 de Mayo y la colectora, a la altura del acceso norte a Chajarí, en Entre Ríos.
Por la brutalidad del siniestro, las primeras pericias señalaron que podría tratarse de una mala maniobra o que la conductora se quedó dormida.
Las víctimas viajaban en un Volkswagen Suran cuando, por motivos que aún están siendo investigados, perdieron el control y chocaron contra el guardarraíl. Tras ello, la Suran se incendió.
Cuatro personas murieron: Nora del Carmen Techeira (44), su hermano menor David Techeira (30), y sus dos hijas Gabriela Liz Martínez (20) y Omaira Ruth Martínez (17). La hermana melliza de esta última, Astrid Raquel, fue rescatada, pero se encuentra grave con el 95% del cuerpo quemado.
La adolescente permanece internada en el Hospital San Martín de Paraná, tras ser derivada desde el Hospital Santa Rosa, de Chajarí.
Todo sucedió en medio de un viaje familiar: Nora había organizado ir a Misiones, su provincia natal, para pasar unos días de vacaciones y visitar a su mamá y sus otros 10 hermanos.
Leé también: Tragedia en una ruta de Entre Ríos: el impactante detalle sobre el accidente en el que murió toda una familia
El domingo salió con tres de sus seis hijos y su hermano más chico desde General Roca, Río Negro, donde vivía desde hacía más de 15 años junto con su marido. Sin embargo, en el camino ocurrió el accidente. Los hermanos Techeira y dos hijas de Nora murieron calcinados.
Entre Ríos, Choque, Accidente, tragedia
CHIMENTOS2 días agoLuis Ventura reveló los motivos detrás de la pelea de Juana Repetto y su hermano Bautista Lena: “Esto viene de crianzas y culturas diferentes”, analizó
POLITICA20 horas agoMilei cruzó a Grabois por insultar a un grupo de periodistas y el diputado le respondió: “Se escandaliza por mis modales”
INTERNACIONAL1 día ago‘Nos están invadiendo’: El ataque de EE.UU. visto desde los celulares de venezolanos












